FAQ

Warum ist bei einer Parallelschaltung von Rohrmotoren grundsätzlich ein Trennrelais erforderlich (extern oder integriert im Motor)?

Antwort

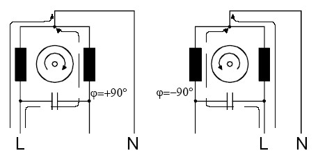
Bei Jalousiemotoren handelt es sich um so genannte Kondensatormotoren. Diese Motoren besitzen zwei voneinander unabhängige Wicklungen, die auf der einen Seite direkt, auf der anderen Seite über einen Kondensator miteinander verbunden sind (siehe Bild 1). Der Kondensator stellt für Wechselstrom kein Hindernis dar, sondern bewirkt in der Wicklung, die mit dem Kondensator jeweils in Reihe geschaltet ist (Hilfswicklung), eine Phasenverschiebung des Stroms um ca. 90° – d. h. der Maximaldurchgang des Wechselstroms erfolgt in der Hilfswicklung 5 ms früher als in der Hauptwicklung. Die von den beiden Strömen erzeugten Wechselfelder setzen sich zu einem Drehfeld zusammen, das den Rotor antreibt. Eine Umkehr der Drehrichtung - und damit der Laufrichtung des Behangs - wird erreicht, in dem der Kondensator mit der anderen Wicklung in Reihe geschaltet wird (Umkehrung des Drehfeldes). Sofern ein Hersteller nicht ausdrücklich das Parallelschalten seiner Jalousiemotoren erlaubt, ist für jeden Jalousiemotor ein eigenes Schaltelement (Schalter, Relais-Einsatz, Jalousieaktor etc.) vorzusehen. Zum Bedienen mehrerer Behänge „mit einem Handgriff“ müssen Trennrelais, mehrpolige Bedienelemente oder ein geeignetes Bussystem eingesetzt werden. Was passiert beim Parallelschalten von Jalousiemotoren? Antriebe einer gemeinsam gesteuerten Anlage haben nie exakt gleich lange Laufzeiten, sondern sie differieren immer um wenige 1/10 s. Werden nun Rohrmotoren parallel durch ein Schaltelement geschaltet, erreicht also ein Antrieb zuerst seine Endlage und öffnet den Endschalter – im Bild 2 mit E1 bezeichnet. Solange der zweite Antrieb noch läuft, ist der Endschalter E3 geschlossen, und es entsteht über den Kondensator C2 eine sogenannte Rückspannung, die den ersten Antrieb in Gegenrichtung in Bewegung setzt. Sobald der Endschalter E1 wieder freigegeben wird, ändert der erste Antrieb sofort wieder seine Drehrichtung und läuft in seine ursprüngliche Richtung. Dieses wiederholt sich so lange, bis der zweite Antrieb seine Endposition erreicht und den Endschalter (im Bild 2 E3) öffnet. Nun wiederholt sich der beschriebene Ablauf mit dem zweiten Antrieb. Der Anwender erkennt dies als Pendelbewegung der beiden Antriebe, die diese um ihre Endlage ausführen. Die Problematik liegt darin, dass binnen kurzer Zeit sehr viele Schaltvorgänge stattfinden und durch die induktiven Lasten Spannungen über 1000 V entstehen können. Als Folge hiervon können einerseits die Kontakte der Endschalter verschweißen, andererseits kann schließlich ein Zustand entstehen, in dem durch die Phasenverschiebung die Drehrichtung der Motoren „umkippt“ und die Endschalter umgangen werden. Am Ende werden Endlagenschalter und Motoren – im ungünstigsten Fall auch Behänge – zerstört! Grundsätzlich dürfen Jalousiemotoren also nicht parallel an ein Schaltelement geschaltet werden!

Produkt

Rohrmotor mit Sicherheitsabschaltung
Artikelnummer: 085700

Bild 01

Bild 02

Hat Ihnen die Antwort weitergeholfen?

Wenn wir Ihnen nicht weiterhelfen konnten, dann nehmen Sie doch Kontakt mit uns auf.